3900公里川藏高速公路正在连通,通往世界屋脊的新天路来了!
都说“此生必驾 318”,走过 318 最美川藏线的人,一定会被沿途的风光所深深折服。
318 川藏线的升级版,川藏高速,它来了!
川藏高速,目前规划有两条,分为南线和北线。川藏南线,就是 g4218 雅叶高速。川藏北线则是g4217 蓉昌高速。
川藏南线
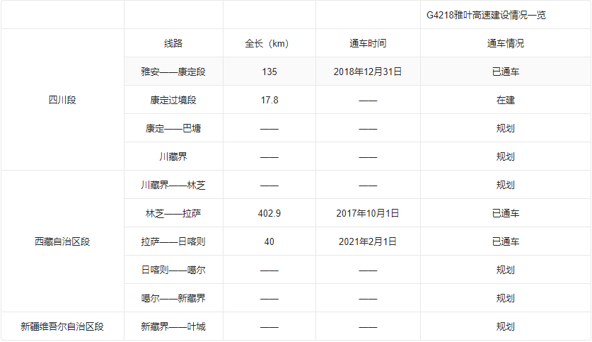
g4218 雅叶高速由四川雅安至新疆叶城,主要经过:雅安-天全-泸定-康定-理塘-巴塘-芒康-八宿-林芝-拉萨-日喀则-噶尔-叶城。跨越四川、西藏、新疆三个省。该线路大致沿川藏公路(g318 国道)和新藏公路(g219 国道)一线。
雅叶高速全长约 3900 公里,设计时速 80-100 公里,双向四车道,建设分阶段进行。第一阶段(2015-2035)建设雅安至日喀则段,第二阶段(2030-2040)建设日喀则至叶城段,除雅安至林芝段为收费段,其余规划为不收费的高等级快速公路,总投入资金预计超 5000 亿。
雅叶高速全线桥隧占比高达 80%以上,全线平均海拔 3000 米以上,最高海拔 4500m,穿越整个青藏高原。由于川藏高速公路的复杂性,业内专家将其建设称作“攀登公路界的珠穆朗玛峰”。
由于线路太长,雅叶高速被分成了多段进行:
1、雅康高速,2018
全长
斜井建设规模、隧道独头掘进居全国之最。
这里有史上最难开凿隧道“二郎山特长隧道”,长 13.4 千米,穿越 13 条地震断裂带,存在瓦斯、岩溶、涌突水等不良地质,
这里还诞生了“川藏第一桥”兴康特大桥。横跨泸定大渡河,全长1411米,跨径 1100米,创下“六个第一”和“7 个首次”。
2、康定-新都桥段,2022年1月4日开建
项目路线起于康定榆林、接康定过境段高速公路,经毛家沟、大草坪、二台子,设折多山隧道越岭,经塘泥坝、水桥、麦巴、瓦泽,止于新都桥镇东俄洛三村。初步设计路线里程长79.449公里,共设置桥梁6065m/22座,隧道42073.5m/8座,互通4座(含枢纽互通1座),服务区2座(毛家沟综合体、瓦泽服务区),停车区1座,全线桥隧比65.1%。2022年1月4日开工,总投资164.57亿元。
社会资本方:四川藏区高速公路有限责任公司、中铁城市发展投资集团有限公司、四川川交路桥有限责任公司。

其中雅叶高速康定过境段跑马山1号隧道进出口高差达到222米,相当于80层楼高,为世界进出口海拔高差最大的隧道。
3、新都桥至理塘段,即将开工
预计 2023 年底开工,目前设计方案从已确定使用中线方案,线路基本与 318 国道和川藏铁路平行方案,预计 2026 年完成。
4、理塘至林芝段,即将开工
目前设计方案已确定,2025 年开始建设,计划于 2035 年前完成建造,该段是全线地质最复杂的路段,也是桥隧占比最高的一部分,根据设计方案,隧道就达 50 条,桥梁达到 100 多座,最长的隧道出现在色季拉山、通麦、易贡三条连续的超长隧道群,长达 100 多公里。
5、林芝至拉萨段,2019年通车运营
全长409公里,投资380亿元,耗时4年时间建成,是中国唯一不收费的高速。将两地的通行时间从8小时缩短至5小时以内。
6、拉萨到日喀则机场公路,部分通车运营。预计 2024 年全线通车
2021年2月1日,g4218 雅安至叶城国家高速公路拉萨至日喀则机场段公路新改建工程(控制性工程)拉萨段通车试运行。
7、喀则至噶尔预备建设中,噶尔至叶城段为远期展望线。

川藏北线
g4217 蓉昌高速公路规划里程约 1086 公里,途径线路:成都-郫都-都江堰-汶川-理县-马尔康-炉霍-甘孜-德格-西藏(江达)。
蓉昌高速主线设置桥梁 121 座、隧道 32 座,桥隧比高达 86.5%,为四川已建成桥隧比最高的高速公路。特别是从理县再往西走,出了隧道就是桥,穿过桥又是隧道,一路脚不沾地,“腾云驾雾”。

与南线一样,北线也被分成多段建设:
1、成灌高速公路,2000 年已通车运营
全长 40.439km,由成都至都江堰。
2、都汶高速公路,2012 年已通车运营
全长 82 公里,始于都江堰,止于阿坝州汶川县,2012 年底通车。受制于复杂的地形条件,多发的地质灾害,都汶高速时常发生拥堵,并因地质灾害发生断道。目前,阿坝州正在规划进入汶川的第二条高速公路,成汶高速全长 106 公里,分两期建设。i 期工程起点为成都第二绕城高速至彭州市通济段,全长 51 公里;ii 期工程为彭州市通济至汶川县段,全长 55 公里。
3、汶马高速公路,2020 年已通车运营
汶川至马尔康段全长 172 公里,翻越 2000 米高差,穿越三条地震断裂带,破解数十项技术难题。这里有被号称为全线“最难啃的骨头”狮子坪特长隧道,长达 13.15 公里,是全国涉藏地区及高原高寒最长的高速公路特长隧道。也有鹧鸪山隧道,8.8 公里,海拔高达 3200 米,空气稀薄,仅为海平面的 60%,是全线施工海拔最高点,耗时 6 年才全面贯通。
4、马尔康至德格段,前期规划中
其中马尔康至阿坝甘孜州界高速公路规划预可研已通过。甘孜段规划中(阿坝甘孜州界—炉霍—甘孜—德格—岗托段)。
5、德格(岗托)到昌都段,规划中。
从雅康高速 13.4 公里的二郎山特长隧道,到创造了 6 个首次、7 个第一的川藏第一桥“兴康特大桥”,从康定过境段世界进出口高差最大的跑马山 1 号隧道,到背着氧气瓶也要打通的拉林高速米拉山隧道,一代又一代筑路人历经千辛万险,攻克重重难关,只为那一条条通向青藏高原的康庄大道。从川藏公路到川藏高速再到川藏铁路,雪山见证“通途”之变,高原再造“天路”奇迹。按照规划,g4218 雅叶高速第一阶段和 g2417 蓉昌高速,在 2035 年前与川藏铁路几乎同步建成,届时,进出西藏将变得无比容易,西藏的神秘面纱也将使越来越多的人了解到。让我们一起期待吧!
最新报道
- 交通运输部办公厅 公安部办公厅 财2024-09-09
- 交通运输部关于发布《公路水运工程2024-09-09
- 国家防汛抗旱总指挥部办公室关于进2024-09-09
- 住房城乡建设部关于发布《近零能耗2024-09-09
- 住房城乡建设部关于发布《建筑碳排2024-09-09
- 住房城乡建设部关于发布《建筑与桥2024-09-09